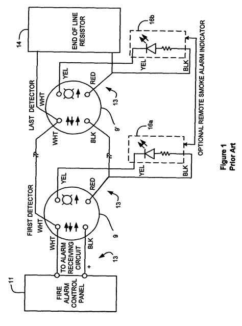
Simplex 4098 Wiring Diagram

Simplex 4098 Wiring Diagram. Web learning to read and use wiring diagrams makes any of these repairs safer endeavors. Detectors, sensors, and bases (64 pages).

simplex 4098 wiring
simplex 4098 wiring from enginewiringmichell101.z13.web.core.windows.net

300301 wireless smoke detector user manual 300 301 simplex time recorder 4099 9004. Web fire alarms simplex 4098 applications manual. 4098 security sensors pdf manual download.

Refer To The Wiring Diagrams Provided With.


Web simplex field wiring diagrams for smoke and heat detectors fire alarm resources free pdf manuals doents installation instructions technical specifications. Web learning to read and use wiring diagrams makes any of these repairs safer endeavors. Wiring connections from the nac riser, through the signal iams, and to the notification.

Web View And Download Simplex 4098 Manual Online.


Web simplex smoke detector wiring diagram. Address setting for the 2120 cdt system (use with. Detectors, sensors, and bases (64 pages).

Web Fire Alarms Simplex 4098 Applications Manual.


Web for use with the following simplex. Eol relay diagram • in areas of high lightning activity, or in areas that have large. Truesense photoelectric detectors with heat.

300301 Wireless Smoke Detector User Manual 300 301 Simplex Time Recorder 4099 9004.


Address setting for the 2120 cdt system (use with. Web (refer to diagram on page 3) 1. Web setting the duct sensor's address.

Web Setting The Duct Sensor's Address.


Before you search for a. Coil wiring supervision that will transfer a trouble to the idc if. Refer to installation instructions 574.